FABRICATION
Le corps de nos manifolds, les robinets, bouchons purgeurs et autres accessoires sont réalisés sur centre d’usinage à commande numérique à partir de barres transformées à froid hypertrempées.
Cette fabrication s’effectue sur 2 sites certifiés ISO 9001 version 2000:
- un atelier de décolletage,
- un atelier de mécanique de précision.
Nous pouvons vous envoyer sur simple demande une copie de ces documents.
MATERIAUX
Acier inoxydable 1.4404 (316L) – Autres matériaux sur demande
Garniture et joint: PTFE ou GRAPHOIL
Afin de vous garantir une bonne traçabilité, chaque pièce entrant dans la composition de nos manifolds est commandée avec un cahier des charges précis (conformité à différentes normes EN, ASTM, ASME ou NACE, tolérances dimensionnelles etc.) et avec fourniture d’un certificat matière suivant EN10204 3.1..
TEST HYDRAULIQUE
Tous nos manifolds subissent un test hydraulique en fin de fabrication (en général 300 bars à 20°C).
ENVOI DE DOCUMENTS
Nous pouvons vous envoyer sur simple demande lors de votre commande les documents suivants:
- plan d'encombrement,
- certificat matière,
- PV d'épreuve hydraulique.
MARQUAGE A FROID
Tous nos manifolds sont marqués à froid après contrôle final, du numéro de fabrication et du standard de marquage CELLIFOLD comprenant notre logo ainsi que l’identification des appareils.
EMBALLAGE
Tous nos manifolds sont emballés sous housse individuelle en plastique comprenant, le cas échéant, les joints et vis adéquates.
DESCRIPTIONS MANIFOLDS
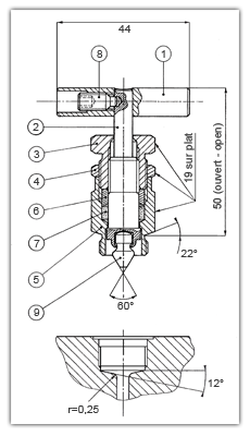
Le ROBINET
1 - Poignée
2 - Tige
3 - Ecrou de presse-étoupe (anti poussière)
4 - Contre-écrou
5 - Corps
6 - Bague
7 - Garniture PTFE ou GRAPHOIL
8 - Vis tête creuse de bloquage de la poignée sur la tige
9 - Pointeau articulé, à alignement automatique |
 |
Pressions et températures de fonctionnement
 |
|
Garniture : Bague blanche PTFE / Bague noire GRAPHOIL
 |
Garniture Graphite |
 |
Garniture PTFE |
|